Wunderlich-Malec Engineering, Inc.

267 Nevada Street, Auburn, CA, United States of America, 95603
Turning Harvest Data into Repeatable Success


The Value of Post-Harvest Analysis

Harvest season may be winding down, but the work doesn’t stop. Wineries are now sitting on a wealth of data — tank temperatures, pump activity, fermentation progress, chiller performance, and more. This telemetry isn’t just for record-keeping; when analyzed properly, it can reveal process improvements, cost-saving opportunities, and quality enhancements for future vintages.

Wunderlich-Malec Engineering helps wineries transform raw harvest data into actionable insights, ensuring that lessons learned translate into operational improvements and measurable ROI.

Capturing Comprehensive Data

Reliable analysis begins with complete and accurate data. Modern wineries generate telemetry from a variety of sources: fermentation tanks, pumps, chillers, CIP systems, and sensors throughout the production floor. WME ensures that all critical parameters are logged consistently, with automated data collection and centralized dashboards that make review and reporting straightforward.

Analyzing for Process Improvement

Once data is captured, it becomes a powerful tool for refining operations. WME helps wineries identify patterns, detect inefficiencies, and pinpoint potential sources of variation. By comparing tank performance, chiller efficiency, and process timing across batches, wineries can optimize fermentation schedules, energy use, and staffing for the next season.

This post-harvest analysis also supports sustainability goals, as energy and water usage patterns can be evaluated and improved, reducing costs and environmental impact.

Driving ROI from Data

Harvest telemetry isn’t just operational — it’s financial. By using data to improve repeatability, wineries can reduce service costs, prevent process errors, and optimize labor allocation, which directly contributes to ROI. WME helps create visual dashboards and reports that make it easy to communicate these improvements to management and demonstrate the value of system upgrades or workflow changes.

Optimizing Harvest Knowledge with Wunderlich-Malec

Wunderlich-Malec partners with wineries to turn harvest data into actionable insight, helping teams centralize information, automate reporting, and uncover process improvements that enhance quality, efficiency, and cost control. By reviewing and acting on this season’s telemetry now, you can lay the groundwork for a more predictable, profitable, and high-performing harvest next year. 


Schedule a consultation with Wunderlich-Malec Engineering to explore how custom dashboards, automated analytics, and expert guidance can translate your data into a lasting competitive advantage.

00
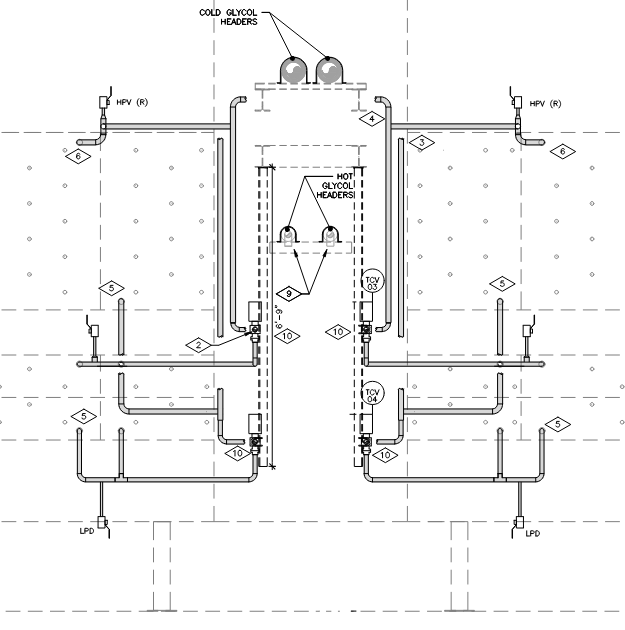
Tank Jacket Discussion

In our previous post, we discussed the need for, and ubiquity of temperature control measures in commercial wine making. In this post, we will take a closer look at the options available in the industry for vessels with cooling capability.

It should be noted that although historically different materials have been used in the construction of tanks in wineries. In modern times, by far the most common material of construction is stainless steel.

The most common types of tank jackets and their attributes are discussed below.

  1. Double Wall or conventional jacket
    1. This is considered the simplest style of construction. Essentially, a second shell is installed over the main shell of the vessel. The annular space between the two is used to circulate cooling or heating media.
    2. This style typically has the thickest shell wall, making it the heaviest. These tanks also tend to be expensive. In process industries, they tend to be used when heat transfer occurs by condensation, such as using steam.Fig 1: Double Wall Jacketed Tank
  2. Half pipe or Limpet coil jacket
    1. In this style of tanks, coils of “half pipes” are welded to the external surface of the tank forming channels outside the shell where cooling or heating media circulates. In some cases, rectangular channels instead of round pipes are used.
    2. This style of construction adds rigidity to the tank shell which allows shell thickness to be reduced and therefore reduces material usage and weight. The reduced shell thickness provides larger heat transfer rates. The channels have lower resistance to flow permitting higher flow rates than dimpled jackets resulting in reduced pumping power. Since the channels of flow are wider than those in a dimpled jacket, they are less susceptible to sediment blockages.
    3. These tanks are generally more expensive than dimpled jackets and are more common in chemical, petrochemical and power industries than in wineries.Fig 2: Half Pipe Jacketed Tank
  3. Dimple jacket
    1. In this style of tank, a thin metal sheet is welded at various points on to the outer shell of the main tank. After the cover is welded, the space between the cover sheet and tank shell is pressurized which causes the metal sheet to expand causing pockets to be formed around the individual spot welds. This creates a characteristic dimple around the spot welds which also forms a space around individual dimples. The heating or cooling media circulates in this space. This type of tank is the most common in commercial wineries.
    2. These jackets typically have a lower working pressure rating than the other types. They have higher resistance to flow hence, require more pumping power.
    3. The weld procedure may employ plug welding or spot welding. When weighing the decision between the two, it is important to do a proper analysis of pressure, flow and heat transfer implications and how it affects the overall integration of the system.Fig 3: Dimple Jacket Tank
  4. Internal coils
    1. When corrosivity, cleanability and accidental mixing of the two media are not critical factors coupled with high heat transfer rate, then immersed internal coils are economic options.Fig 4: Tank with Internal Coil
00
Temperature Control during Winemaking

In wine making, the ability to control the temperature of the product during various stages is vital to the character of the finished wine. Each stage has a different set of cooling requirements, and several factors influence the ability to exercise adequate control over the temperature. Focusing on the fermentation stage, the factors include the following.

  1. Tank jacket construction
    1. Dimple jacket
      1. Plug welded
      2. Spot welded
    2. Half pipe coil
    3. Number of jackets
    4. Location of jackets
    5. Total surface area
  2. Desired fermentation rates for various varietals
  3. Tank volume
  4. Cooling media
  5. Agitation or mixing
  6. Type of tank insulation
  7. Ambient temperature
  8. Weather exposure
  9. Tank heating capability
  10. Closed or open loop
  11. Piping considerations
    1. Type of control valves
  12. Glycol concentration
  13. Pump controls
  14. Valve controls
  15. System controls
  16. SCADA and historian

Several of these factors have an interrelationship with cost, durability, reliability and maintenance. Cost implication further breaks down to upfront cost, energy cost and maintenance cost. Optimizing the quality goals with financial budgets and operations planning contributes to a successful wine making enterprise. Diligent planning that goes hand in hand with proper engineering analysis followed by careful design and construction is a must. We will look at each of these factors in more detail in subsequent posts.

20